|
火绒企业版斩获5000(台)终端大订单 首次进入金融行业高端市场近日,“火绒企业版”获得深圳某大型金融公司5000台终端订单。火绒产品不光解决了该企业统一管理大量PC终端的难题,并彻底解决了企业网络中因漏洞、U盘感染等原因造成的病毒横行的现象,获得客户的好评。这标志着,年轻的“火绒企业版”成功进入金融行业高端市场,获得了最苛刻客户的认可。
图:某金融企业为5000台终端安装“火绒企业版” 据了解,该企业为同类型行业中规模较大的公司,仅终端使用就高达数千台,这也给管理带来诸多不便。根据该企业管理人员描述,庞大的终端多数以老旧的系统为主(Window7与XP系统),员工可随意下载不合格软件、使用带毒的U盘,加上内外网混合,导致病毒泛滥。以前安装过国内某老牌杀毒软件,最终因某些功能无法满足大量终端的需求而放弃使用。
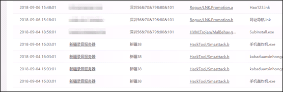
图:通过漏洞在内网流窜不止的病毒 对此,今年7月份,该企业为1000台终端申请试用“火绒企业版”,针对不同部门进行细化分组,并设置相应的防护策略,比如对不合格软件的进行卸载,制定病毒查杀任务,设置浏览器首页等,力求做到统一、规范管理。 此外,通过全网终端扫描,发现系统中的病毒绝大部分通过U盘传播进入,并通过一些老漏洞在内网中无限传播。对此,企业管理员开启“火绒企业版”—“设备控制”功能直接禁止不需要使用外设的部门终端,并通过“漏洞攻击拦截”彻底杜绝病毒通过漏洞在内网传播不绝的现象。最后全网查杀,最终病毒攻击次数由上万次下降至数百次。
该企业管理人员向火绒反馈,试用期间,“火绒企业版”运行稳定,不仅能满足大量终端的管理需求,而且通过“设备控制”与“漏洞攻击拦截”功能清理了病毒传播源头,提高了企业安全性,提升了员工办公效率。截止到8月份,已经为公司5000台终端部署“火绒企业版”。 总结: 据悉,“火绒企业版”去年年底面世,今年4月开始试销,5月30日正式发布,短短数月就有上千家政府、企业单位安装试用,普遍反映良好。此次成功解决该大型金融公司5000台PC终端的管理、杀毒难题,表明“火绒企业版”日渐成熟、完善,能够承担大型企业的终端管理和防御的任务,解决长期困扰他们的难题。 |


