|
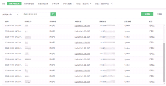
火绒升级“漏洞攻击拦截”功能支持XP 立刻解决某医院漏洞攻击问题产品公告: 火绒产品(个人版、企业版)重要功能“漏洞攻击拦截”于上周完成升级,现已全面支持XP系统。企业用户将产品升级到1.0.3.0版本,个人用户将产品升级到4.0.68.14版本,并重启电脑,即可完成功能升级。 “漏洞攻击拦截”功能可帮助用户在系统没有打漏洞补丁的情况下,完成安全热补,阻止勒索软件、黑客渗透程序等高危威胁的入侵,并记录攻击发起者IP地址信息,方便进行攻击溯源。 详细介绍请参考:https://www.huorong.cn/info/1524105170121.html 典型案例: 近日,安徽某医院反映在部署“火绒终端安全管理系统1.0”(火绒企业版)后,发现仍旧有病毒在网络中流窜。 火绒工程师与该医院紧急远程沟通,通过日志记录发现,被查杀的病毒均为蠕虫病毒(worm/conficker)。该病毒特点是通过系统漏洞在局域网中不断地横向传播,并下载其他恶性病毒。 同时,该医院部分电脑使用的是老旧的XP系统,存在一直没有修复的老漏洞MS08-067,蠕虫病毒正是通过该漏洞侵入医院系统。 随后,医院网络管理员在火绒工程师的提示下将火绒企业版“控制中心”与“终端”升级到最新版,通过“漏洞攻击拦截”功能,找到了漏洞攻击IP地址,彻底拦截漏洞攻击,解决该医院网络病毒肆虐的问题。
图1:“漏洞攻击拦截”功能升级后查出XP系统中存在漏洞的IP地址
图2:漏洞攻击已被阻止 实际上,政府、企业、学校、医院等局域网机构用户使用的多为老旧的XP系统,存在很多未能修复的老漏洞,MS08-067只是其中一个,而很多恶性病毒都可以通过这些漏洞在局域网中无限传播。 建议局域网、XP系统用户尽快升级“火绒企业版”,全面排查可存在的漏洞攻击威胁。如有任何问题和使用结果请向火绒及时反馈。 |

